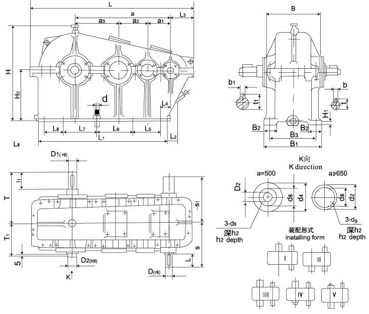
一、型号及尺寸


二、传动比

三、承载能力表



致力研发、生产减/变速机
为客户提供优质的产品

全国咨询热线
0523-87695988
139-5265-0742
139-5265-9053

一、型号及尺寸


二、传动比

三、承载能力表


上一篇:没有了!
下一篇:没有了!
联系方式:0523-87695988 139-5265-0742 139-5265-9053
公司地址:泰兴市济川街道张庄村
Copyright © 2020-2021 泰兴市恒星减速机厂 All Rights Reserved.
电子邮箱:txhxjsj@126.com
备案号码:苏ICP备2022046895号
